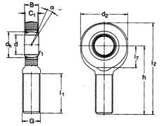
| ปลายก้านสูบ ชนิดเกลียวด้านนอก - เกลียวด้านซ้าย STEEL - ON - STEEL ROD ENDS WITH MALE THREAD - LEFT -HAND - THREAD |

รหัสสินค้า |
ขนาด |
รหัสสินค้า |
ขนาด |
||||||
d |
d2 MAX | B |
G |
d |
d2 MAX | B |
G |
||
SAL |
|||||||||
SAL 6 E |
6 | 22 | 6 | M 6 | SAL 25 ES |
25 | 65 | 20 | M 24*2 |
SAL 8 E |
8 | 25 | 8 | M 8 | SAL 30 C |
30 | 75 | 22 | M 30*2 |
SAL 10 C |
10 | 30 | 9 | M 10 | SAL 30 ES |
30 | 75 | 22 | M 30*2 |
SAL 10 E |
10 | 30 | 9 | M 10 | SAL 35 ES-2RS |
35 | 84 | 25 | M 36*3 |
SAL 12 C |
12 | 35 | 10 | M 12 | SAL 40 ES-2RS |
40 | 94 | 28 | M 42*3 |
SAL 12 E |
12 | 35 | 10 | M 12 | SAL 45 ES-2RS |
45 | 104 | 32 | M 45*3 |
SAL 17 C |
17 | 47 | 14 | M 16 | SAL 50 ES-2RS |
50 | 114 | 35 | M 52*3 |
SAL 17 E |
17 | 47 | 14 | M 16 | SALA |
||||
SAL 20 C |
20 | 54 | 16 | M 20*1.5 | SALA 45 ES-2RS |
45 | 104 | 32 | M 42*3 |
SAL 20 ES |
20 | 54 | 16 | M 20*1.5 | SALA 50 ES-2RS |
50 | 114 | 35 | M 45*3 |
SAL 25 C |
25 | 65 | 20 | M 24*2 | |||||
